Sacred Texts  Australia  Index 

Image Index

Native Tribes of the Northern Territory of Australia


Map of the Northern Territory
Map Showing Distribution of Local Groups on Melville Island and Bathurst Island
Genealogical Chart
Ornaments Worn During Initiation Ceremony On Melville Islane
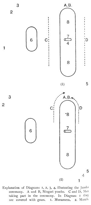
The Jamba Ceremony
The Jamba Ceremony
Illustrating the Ober Ceremony
Genealogical Chart
Genealogical Chart
Genealogical Chart
Genealogical Chart
Bark Armlet Pattern
Decorated Spears, Melville and Bathurst Islands.
Bark Drawing: a Mormo, Called Ingwalin (Kakadu Tribe)
Bark Drawing: Two Mormos, Nangintain (L.), Auunau (R.)
Bark Drawing: a Mormo, (Geimbio Tribe)
Bark Drawing: a Mormo, Called Yerobeiri, (Kakadu Tribe)
Bark Drawing: a Mormo, Called Warraguk, (Kakadu Tribe)
Bark Drawing: Three Snakes, (Kakadu Tribe)
Bark Drawing: Crocodile, (Kakadu Tribe)
Bark Drawing: Native Spearing Kangaroo, (Kakadu Tribe)
Bark Drawing: a Kangaroo Hunt, (Kakadu Tribe)
Bark Drawing: Pigmy Goose, Barramunda Fish, Stecilled Hands, (Kakadu Tribe)
Bark Drawing: Barramunda Fish, (Kakadu Tribe)
Bark Drawing: Native Spearing 'Native Companion', (Kakadu Tribe)
Bark Drawing: Palmated Goose, (Kakadu Tribe)
Bark Drawing: Echidna, (Kakadu Tribe)